PowerQUICC™处理器
收藏
分享
脑图
PowerQUICC™处理器
基本信息
分类
PowerQUICC I
MPC850: PowerQUICC®处理器,带有CPM (两个SCC、两个SMC)和10T以太网
MPC852T: PowerQUICC®处理器,带CPM (两个SCC、1个SMC)、10/100以太网
MPC853T: PowerQUICC®处理器,带CPM (两个SCC、1个SMC)、10/100以太网
MPC855T: PowerQUICC®处理器带CPM (1 SCC、2 SMC)、10/100以太网
MPC859DSL: PowerQUICC®处理器带CPM (1个SCC、1个SMC)、10/100以太网
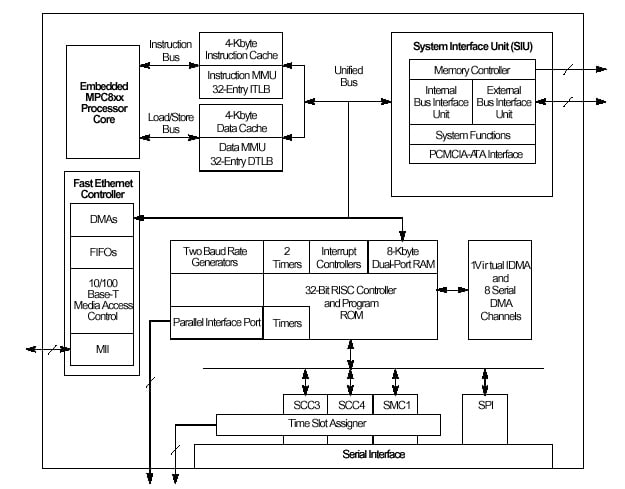
MPC860: MPC860 PowerQUICC®处理器
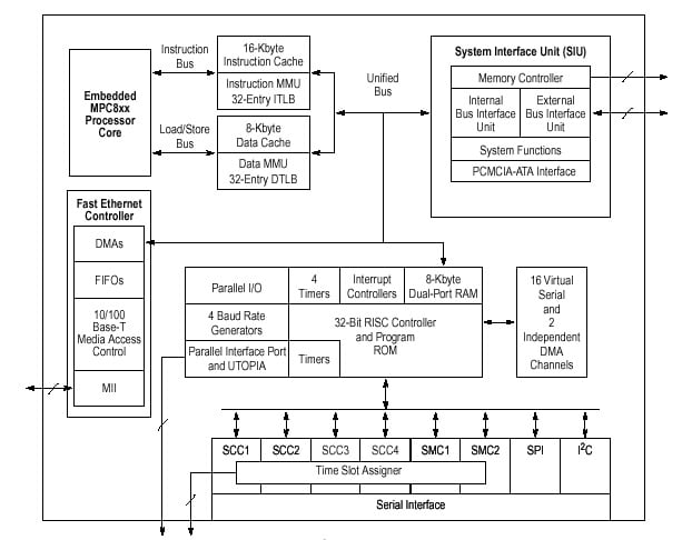
MPC866: PowerQUICC®处理器,带有CPM (4个SCC、两个SMC)和10/100以太网
MPC870: PowerQUICC®处理器,带有CPM、USB和双10/100以太网
MPC875: PowerQUICC®处理器,带有CPM、USB和双10/100以太网、安全性
MPC880: PowerQUICC®处理器,带有带ATM的CPM、USB和双10/100以太网
MPC885: PowerQUICC®处理器,带有带ATM的CPM、USB和双10/100以太网和安全性
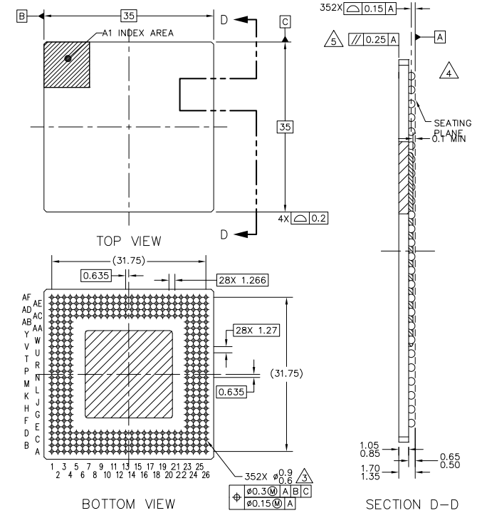
封装
PowerQUICC II
部件
MPC8241: 具有集成PCI的集成主处理器
MPC8245: 具有集成PCI的集成主处理器
MPC8247: PowerQUICC® II处理器具有PCI、USB和通信处理器模块
MPC8248: 带PCI、USB、安全性、通讯处理器模块的PowerQUICC® II处理器
MPC8250: PowerQUICC® II处理器带PCI、128个通道。HDLC,10/100以太网
MPC8255: PowerQUICC® II处理器带128个通道。HDLC,UTOPIA II,10/100以太网
MPC8260: PowerQUICC® II处理器带256个通道。HDLC,UTOPIA II,10/100以太网
MPC8265: PowerQUICC® II处理器带PCI、256个通道。HDLC,UTOPIA II,10/100以太网
MPC8270: PowerQUICC® II处理器带PCI、USB和128个通道。HDLC,10/100以太网
产品特性
MPC8271: 带PCI、USB、带有UTOPIA的通讯处理器模块的PowerQUICC® II处理器
MPC8272: 带PCI、USB、配备UTOPIA的通讯处理器模块的PowerQUICC® II处理器
MPC8275: PowerQUICC® II处理器带PCI、USB和128个通道。HDLC,UTOPIA II端口,10/100以太网
MPC8280: PowerQUICC® II处理器带PCI、USB 和 256个通道。HDLC,UTOPIA II端口,10/100以太网 ,IMA
封装
PowerQUICC II Pro
部件
MPC8306: 低功率Low-Power PowerQUICC® II处理器,带 DDR2、eSDHC和128个通道。 HDLC/TDM,10/100以太网,USB,IEEE® 1588
MPC8308: 低功耗PowerQUICC® II Pro处理器带有DDR2、eSDHC、PCI Express、eTSEC、USB、IEEE® 1588
MPC8309: 低功率Low-Power PowerQUICC® II处理器,带 DDR2、eSDHC和128个通道。HDLC/TDM,10/100以太网,USB,IEEE® 1588
MPC8313E: 低功率PowerQUICC® II Pro处理器带DDR2、 PCI、 1 GB以太网、 安全性和USB
MPC8314E: 低功率PowerQUICC® II Pro处理器,带DDR2、TDM、PCI、PCI、1 GB 以太网、 安全性和USB
MPC8315E: 低功率PowerQUICC® II Pro处理器,带DDR2、TDM、PCI、PCI Express、SATA、1 GB以太网、 安全性和USB
MPC8321: 低功率PowerQUICC® II Pro处理器,带DDR2、TDM、 PCI、安全功能、USB和QUICC Engine®
MPC8321E: 低功率PowerQUICC® II Pro处理器,带DDR2、TDM、 PCI、安全功能、USB和QUICC Engine®
MPC8323: 低功率Low-Power PowerQUICC® II Pro处理器,带DDR2、TDM、 PCI、安全功能、USB和带UTOPIA的QUICC Engine®
MPC8323E: 低功耗PowerQUICC® II Pro处理器,带DDR2、TDM、 PCI、安全功能、USB和带UTOPIA的QUICC Engine®
MPC8343E: PowerQUICC® II Pro处理器带DDR2、双PCI、1 GB以太网、双USB及安全性
MPC8347E: PowerQUICC® II Pro处理器带DDR2、PCI、1 GB以太网、双USB、安全性
MPC8349E: PowerQUICC® II Pro处理器带DDR2、双PCI、1 GB以太网、双USB及安全性
MPC8358E: PowerQUICC® II Pro处理器,带DDR2、TDM、PCI、安全功能、USB、带1 GB以太网的QUICC Engine®、UTOPIA
MPC8360E: PowerQUICC® II Pro处理器,带DDR2、TDM、PCI、安全功能、USB、带1 GB以太网的QUICC Engine®、UTOPIA
MPC8377E: PowerQUICC® II Pro处理器带有DDR2、PCI、PCI Express、SATA、1 GB以太网、USB、安全性
MPC8378E: PowerQUICC® II Pro处理器带有DDR2、PCI、PCI Express、1 GB以太网、USB、安全性
MPC8379E: PowerQUICC® II Pro处理器带DDR2、PCI、SATA、1 GB以太网、USB、安全性
封装
PowerQUICC III
部件
MPC8533E: MPC8533E PowerQUICC®III处理器
MPC8535E: powerquicc iii处理器,具有ddr2/3、esdhc、pci、pci express、sata、serdes、1 gb以太网、usb、安全性
MPC8536E: MPC8536E 通信处理器
MPC8540: 集成主处理器带DDR、PCI、RapidIO®和1G以太网
MPC8541E: PowerQUICC® III处理器具有TDM、DDR、PCI、1 GB以太网、安全性、带有UTOPIA的CPM
MPC8543E: PowerQUICC® III处理器具有DDR2、PCI、PCI Express®、串行RapidIO、SerDes、1 GB以太网和安全性
MPC8544E: 带有DDR2、PCI、PCI Express®、SerDes、1 GB 以太网、SGMII和安全性的PowerQUICC® III处理器
MPC8545E: 带有DDR2、PCI、PCI Express®、SerDes、1 GB以太网和安全性的PowerQUICC® III处理器
MPC8547E: 带有DDR2、PCI、PCI Express®、SerDes、1 GB以太网和安全性的PowerQUICC® III处理器
MPC8548E: PowerQUICC® III处理器具有DDR2、PCI、PCI Express®、串行RapidIO、SerDes、1 GB以太网和安全性
MPC8555E: PowerQUICC® III处理器具有TDM、DDR、PCI、1 GB以太网、安全性、带有UTOPIA的CPM
MPC8560: PowerQUICC® III处理器具有TDM、DDR、PCI、PCIx Express®、RapidIO®、1 GB以太网、安全性、带UTOPIA的CPM
MPC8569E: PowerQUICC® III处理器带有DDR2/3
MPC8572E: PowerQUICC® III处理器,带有DDR2/3、模式匹配引擎、PCI Express®
封装
购买渠道
现货分销商网站购买
评论
0 / 100
查看更多
张小宸
2019-07-22
2699
硬禾服务号
关注最新动态
0512-67862536
info@eetree.cn
江苏省苏州市苏州工业园区新平街388号腾飞创新园A2幢815室
苏州硬禾信息科技有限公司
Copyright © 2024 苏州硬禾信息科技有限公司 All Rights Reserved 苏ICP备19040198号