内容介绍
内容介绍
项目来源:AD9653评估板
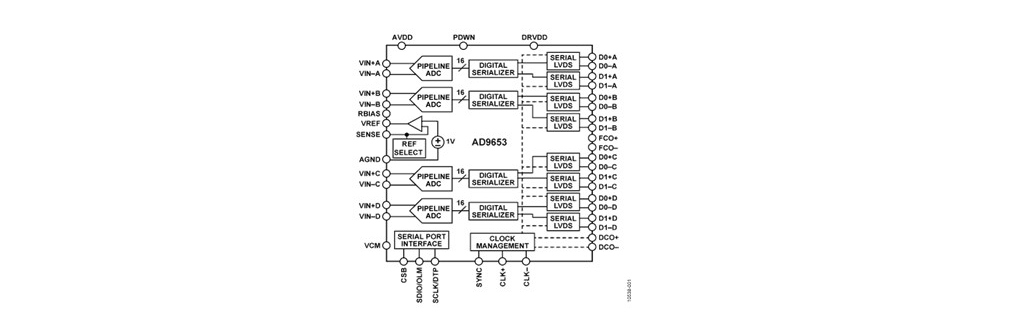
用户指南UG-328提供了详尽的文档和说明,以便配置并进行实验室性能评估。AD9653-125EBZ评估板是专门设计来评估AD9653四通道16位模数转换器(ADC)的。这个参考设计包含了所有必要的支持电路,以支持该器件在多种模式和配置下运行。它能够直接与HSC-ADC-EVALC数据捕获卡接口,使用户能够下载捕获的数据进行分析。Visual Analog软件包与器件的硬件部分接口,提供了一个用户友好的图形界面,使用户能够下载并分析捕获的数据。同时,SPI控制器软件包也与硬件兼容,允许用户利用AD9653的SPI编程功能。AD9653数据手册提供了更多关于器件配置和性能的详细信息,这些文档、Visual Analog软件和SPI控制器都可以在高速ADC评估板页面上找到。
附件下载
Visual Analog.pdf
Evaluating the AD9253/AD9633/AD9653 Analog-to-Digital Converters.pdf
AD9653/AD9253/AD9633 Design and Integration Files.pdf
评论
0 / 100
查看更多
